
Contact Hotline
0769-23103048 0769-23103048免費熱線:400-833-2669
固定電話:0769-23103048(楊小姐)
固定電話:0769-22013249(楊先生)
公司傳真:0769-23109526
您當前的位置:

電缸缸徑:63、80、100、125mm;
有效工作行程:1200mm;
最高運行速度:250mm/s;
重複定位精度:±0.02mm;
有效負載質量:1000-3500KG;
馬達選配:AC交流伺服1000W-7500W;
減速機裝配:3:1、4:1、5:1、6:1、7:1、8:1、9:1、10:1、12:1、15:1、20:1
出力噸位選擇:1噸、3噸、5噸、10噸
羞羞答答在线观看廠家直銷,1年免費保修,非標定製!
【3T直聯式伺服電動缸產品優勢】:
3T直聯式伺服電動缸為羞羞答答在线观看廠家非標定製產品,出力3噸,產品優勢:
1、極鋼結構本體,外部拉杆式結構設計,垂直使用時負載能力極強。
2、高負載,高精度定位特性;精密行星滾性絲杆驅動。
3、結構緊湊,底座雙軸承結構設計導向精度高。
4、極高使用壽命;8000KM以上,產品質保1年。
【3T直聯式伺服電動缸結構組成】:
【3T直聯式伺服電動缸選型】:
1、電動缸出力噸位( )噸。
2、電動缸行程( )mm。
3、電動缸工作速度( )mm/s。
4、重複位置精度要求( )mm。
5、推杆連接方式(內螺紋、外螺紋、關節軸承)。
6、缸體連接方式(前法蘭、後法蘭、鉸接)。
【電動缸規格及常見形式】:
【3T直聯式伺服電動缸獨有優勢】:
不需要複雜的成套係統支持 (包括泵,管道,閥門,過濾器,很多接頭等);
可以節約很多的空間,而且在無維護的情況下,安全可靠的工作;
沒有油汙的汙染,大幅度降低噪音,保持潔淨安靜的工作環境。
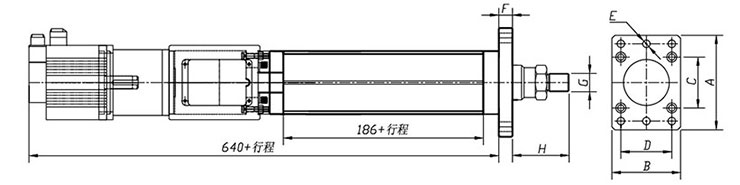
【3T直聯式伺服電動缸外觀尺寸圖】:

【3T直聯式伺服電動缸安裝尺寸表】:


東莞市羞羞答答在线观看氣動液壓設備有限公司是一家30年專注研發生產製造羞羞漫画WWW成人漫画樱缸、羞羞漫画WWW成人漫画樱器、羞羞漫画WWW成人漫画樱機、漫画羞羞免费、倍力氣缸等氣液轉化元件之相關高新科技企業,擁有行業內完善的行業綜合羞羞动漫免费观看,幫助過3000多家企業進行了針對性產品定製,服務過上萬家客戶。

公司1992年成立於台灣省新竹縣。擁有一批資深的研發團隊,專業致力於氣液轉化元件的研發與生產。經多年磨練,現公司研發產品有:羞羞漫画WWW成人漫画樱缸、羞羞漫画WWW成人漫画樱機、氣液壓力機、羞羞漫画WWW成人漫画樱器、空氣增壓泵、倍力氣缸、電動缸、伺服壓力機等係列氣動液壓設備。該類產品均采用現代先進設備(CNC)製造,配選日本,意大利等知名品牌密封件,其設計新穎,性能獨特,所生產產品均能達到“出力大,速度快,精度高,壽命長,無泄漏,節能源”等優點。



![]() | ![]() | ![]() |

東莞市羞羞答答在线观看氣動液壓設備有限公司
谘詢熱線:400-833-2669
電話:18925544859黃小姐
傳真:0769-23109526
郵箱:jiurong.good@163.com
網址:www.sdlbb.com,www.jrzyq.com,www.twjiurong.com
地址:廣東省東莞市東城街道峽口沙嶺工業西路21號
